-
UMD磁致伸縮液位計是上海自動化儀表股份有限公司自主開發的物位測量類新產品,UMD磁致伸縮液位計主要用于測量液體。該產品是利用韋德曼效應原理—指一些金屬(如鎳鐵合金)在相交磁場的作用下,其體積和長度將發生變化的現象,因此也稱為磁致伸縮效應。UMD磁 致伸縮液位計用現代xj****的電子技術手段,精密的計算和測量脈沖波間的時間值,達到準確測量物體的長度。這一方式原理生產的液位計是目前液位領域***為準確、 簡單、性能穩定可靠成熟的產品。尤其是在小量程、常溫常壓這普通環境下更具優勢,是其他測量方法不可比的。該產品使用磁致伸縮效應的測量技術是廣泛應用在 機床精密測距等行業中的,在工業過程物位參數的測量上應用是近年來興起的一項新技術。
一、UMD磁致伸縮液位計概述
UMD磁致伸縮液位計是上海自動化儀表股份有限公司自主開發的物位測量類新產品,UMD磁致伸縮液位計主要用于測量液體。該產品是利用韋德曼效應原理—指一些金屬(如鎳鐵合金)在相交磁場的作用下,其體積和長度將發生變化的現象,因此也稱為磁致伸縮效應。UMD磁 致伸縮液位計用現代xj****的電子技術手段,精密的計算和測量脈沖波間的時間值,達到準確測量物體的長度。這一方式原理生產的液位計是目前液位領域***為準確、 簡單、性能穩定可靠成熟的產品。尤其是在小量程、常溫常壓這普通環境下更具優勢,是其他測量方法不可比的。該產品使用磁致伸縮效應的測量技術是廣泛應用在 機床精密測距等行業中的,在工業過程物位參數的測量上應用是近年來興起的一項新技術。
因其材料特性和結構特點,使其具備比其他原理的液位計更出色的優勢。該產品沒有強制運動部件、結構簡單、敏感材料溫度穩定性好、產品可靠。連續實時測量、測量速度較快,有利于工業現場的實時監控。
UMD磁致伸縮液位計可用于石油、化工原料儲存、工業流程、生化、醫藥、食品飲料、罐區管理和加油站地下庫存等各種液罐的液位工業計量和控制,特別在油料的儲料等高精度測量場合有明顯的優勢。
二、UMD磁致伸縮液位計技術參數
UMD磁致伸縮液位計技術指標如下:
表1:UMD磁致伸縮液位計技術參數
技術參數 | |
測量范圍 | 300-4000mm |
輸出信號 | 4~20mA(帶HART通信協議)或PROFIBUS PA和FF HI等現場總線協議 |
電壓范圍 | 12~36Vdc |
額定電壓 | 24Vdc |
準確度 | ±0.05%FS |
分辨率 | ≤0.02%FS |
非線性 | ≤0.02%FS |
溫度影響 | ≤±0.01%/℃ |
絕緣電阻 | >20MΩ |
顯示 | LCD顯示 |
工作壓力 | 浮球耐壓常規1.6MPA,***大可耐3.2mpa |
環境溫度 | -25~70℃ |
環境濕度 | 5%~95% |
介質溫度 | -40-300℃ |
防護等級 | IP66 |
防爆等級 | ExiaIICT3~T4 , ExdIICT4~T6 |
產品功耗 | ≤30mA |
相應時間 | <1秒 |
導向桿材料 | 304、316或用戶定制 |
浮球材料 | 304、316或丁晴橡膠 |
外殼材料 | 不銹鋼、鋁合金或用戶定制 |
電纜參數 | 1個M20*1.5電纜入口,一個盲堵M20*1.5 |
連接方式 | 2芯屏蔽線接線端子連接 |
三、UMD磁致伸縮液位計產品特點
1) 可靠性強:UMD磁致伸縮液位計采用磁致伸縮原理,無機械可動部分,故無摩擦、磨損。整個電力轉換部分封閉在不銹鋼鋼管內,和測量介質不接觸,傳感器工作可靠,壽命長。
2) 反應靈敏精度高:UMD磁致伸縮液位計靠波導脈沖工作,將液位量轉化為發射脈沖和返回脈沖的時間間隔進行測量,由于時間量的測量可以達到很高精度,測量精度高,可達0.01%FS。
3) 安全型號:UMD磁致伸縮液位計的防爆性能高,有隔爆型和本安型兩種,使用安全,特別適合對化工原料和易燃液體的測量適合工作在各種易燃、易爆等危險場所。
4) 安裝、維護簡單:UMD磁致伸縮液位計可以采用法蘭安裝方式,安裝及其簡單,操作簡單,而且無需定期維護或重新標定,使用、維護零成本。
5) 便于系統自動化工作:UMD磁致伸縮液位計提供標準輸出信號,便于危機對信號進行處理,容易實現聯網工作,提高整個測量系統自動化程度。
四、UMD磁致伸縮液位計應用方式
1) 捆綁式應用
UMD磁致伸縮液位計可以與磁翻柱式液位計連用,替代磁性液位變送器選購件,提高精度。
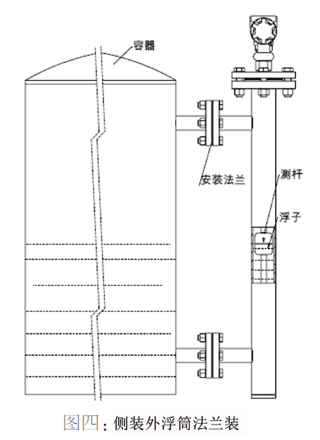
2) 側裝式應用
UMD磁致伸縮液位計側裝采用本公司多種的外浮筒室。
3) 防腐應用
本儀表接液材料均外覆四氟,外浮筒內襯四氟。
4) 高溫應用
UMD磁致伸縮液位計采用與高溫高壓磁翻柱式液位計聯用(***高溫度升至300℃)
5) 界面應用
本儀表界面應建議頂裝形式,低壓狀態。0.1比重差需配直徑約為150mm的浮球。0.05比重差需配直徑約200mm的浮球。界面不清,有渾濁條件下,浮球高度至少是渾濁厚度的一般。用戶在選型安裝方式時須***考慮到浮球進入容器的途徑。
6) 可支持HARTPROFIBUS PA和FF H1等******主流現場總線協議。
五、UMD磁致伸縮液位計接線和安裝
5.1、產品垂直安裝,安裝斜度不能大于5度,除去浮球上端鎖定卡環,下環不動。
a) 浮球安裝方向,參照箭頭方向;如果反向,影響測量精度。
b) 導向桿兩端有測量盲區,如圖二所示
5.2、安裝示意圖如下:


5.3、接線方式:
UMD磁致伸縮液位計的引線采用兩線制屏蔽電纜,如下圖:
5.4 注意事項:
1)用戶在接線之前,應檢查電源是否滿足12~26vdc要求,如果電源不能滿足要求,請進行更換。
2)禁止在帶電狀態下打開視窗蓋和連接電源線。須***在接好電源線后方可上電。
3)導向桿不能彎曲,液位計的外殼和導向桿不允許受到大的沖擊或振動。
4)液位計不可直接用于有化學反應或其他隊液位計有損害的易燃、易爆、腐蝕、蒸汽和液體等場合,必要時需有防護措施給與保護。
5)液位計的屏蔽線纜須***避開大功率電源,射頻信號源和其他有噪聲的傳輸線等。
6)液位計的電子部件防濺但不可浸沒,切不可讓液體超過安裝法蘭,安裝完畢,應對電子倉進行保護處理。
5.5、液晶顯示
精度:正負0.2%或1個字
顯示單位:%或CM,2米以內可選mm。
顯示方式:LCD數字及小數點顯示,字高9mm,有背景光。
采樣速率:2.5次/秒
溫度范圍-20~60℃。
5.6零點、滿量程設置
UMD磁致伸縮液位計的零點和滿量程位置一般情況下在出廠時已根據用戶要求設置好(液位計的零點在測桿的末端一側,滿量程位置的靠近電子艙的一側,用戶不需重新設置,當用戶需對零點和滿量程位置做出調整時,可根據以下方法設置:
1) 零點位置設置。
把浮子放在零位位置,等待三秒后按電路板左上角S1按鍵一次,此時電流輸出變為4mA;
2) 滿量程設置。
把浮子放在滿度位位置,等待三秒后按電路板左上角S2按鍵一次,此時電流輸出變為20mA;
5.7產品配件
浮子一個,浮子卡環(包括2個螺釘、2個擋圈)1套,操作手冊及合格證各一份。





